首頁 > 新聞中心 > 球墨鑄鐵閘閥結構長度
球墨鑄鐵閘閥結構長度
發布時間:2021-10-19 14:09:13
球墨鑄鐵閘閥,顧名思義就是閥體材質為球墨鑄鐵的閘閥,閥體使用球墨鑄鐵材質QT450進行精密鑄造,不易被拉裂,不易被凍裂,性能上要優于灰鑄鐵材質的閘閥,并且球墨鑄鐵閘閥不會因運輸、碰撞、安裝而出現斷裂現象。本篇文章為您介紹球墨鑄鐵閘閥結構長度。
球墨鑄鐵的閘閥在市面上常見的是軟密封,也就是說閥板采用EPDM橡膠包裹的閘閥,軟密封閘閥底部采用平底設計,不易造成雜物淤積,流體介質可以暢通無阻。
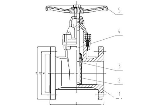
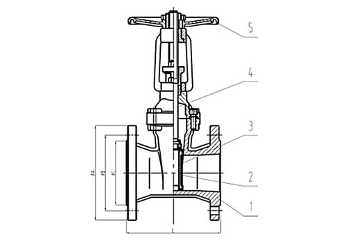
軟密封的球墨鑄鐵閘閥根據結構形式的不同,可以分為明桿和暗桿兩種,他們的結構長度也不相同。
明桿軟密封球墨鑄鐵閘閥結構長度尺寸表

| 公稱尺寸 | 結構長度 | |
| DN | NPS | L |
| 50 | 2'' | 178 |
| 65 | 2 1/2'' | 190 |
| 80 | 3'' | 203 |
| 100 | 4'' | 229 |
| 125 | 5'' | 254 |
| 150 | 6'' | 267 |
暗桿軟密封球墨鑄鐵閘閥結構長度尺寸表

| 公稱尺寸 | 結構長度 | |
| DN | NPS | L |
| 50 | 2'' | 150 |
| 65 | 2 1/2'' | 170 |
| 80 | 3'' | 180 |
| 100 | 4'' | 190 |
| 125 | 5'' | 200 |
| 150 | 6'' | 210 |
以上球墨鑄鐵閘閥結構參數僅供參考,更多詳細信息可以咨詢般德閥門網站在線客服。












