-
精密鑄造
閥體采用QT450-10材料進行精密鑄造,抗拉強度450Mpa,延展率大于10%,不易拉裂、凍裂,球化率3級以上,完全符合國家標準QT450機械性能
-
粉沫環氧樹脂靜電涂裝
閥體采用粉沫環氧樹脂靜電涂裝,噴涂厚度達到250μm,有效防止閥體與介質接觸造成的腐蝕與生銹、外觀漂亮
-
實心重體
閥體均為實心重體,壁厚滿足國家標準
-
閥座耐磨
閥座堆焊cr系不銹鋼,增加閥座耐磨性
-
雙層壓力檢測
每臺閥門出廠均按照國家標準做殼體、密封雙層壓力檢測
-
-
-
-
產品優點
產品介紹
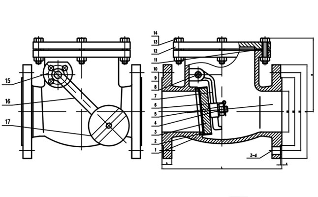
旋啟式止回閥(帶重錘)是依靠介質本身流動而自動開、閉閥瓣,用來防止介質倒流的閥門,其主要作用是防止介質倒流、防止泵及驅動電動機反轉,以及容器介質的泄放。般德旋啟式止回閥(帶重錘)產品配置:閥體:DI 、閥板:DI、密封:銅合金、錘:DI,應用領域有市政建設、電力、給排水、石油化工等。
產品參數
| 執行標準 | 名稱 | 結構長度 | 法蘭連接 | 檢驗試驗 | ||||
| 參照標準 | DIN 3202 | DIN EN 1092-2 | DIN EN 12266 | |||||
| 主要零部件信息 | 名稱 | 1-閥體 | 3-閥板 | 2-密封 | 17-擺錘 | |||
| 材質及說明 | DI | DI | 銅合金/不銹鋼/橡膠 | DI | ||||
| 尺寸信息 | DN | NPS | L | φD | φD1 | φD2 | b | Z-d |
| 40 | 1 1/2'' | 180 | 150 | 110 | 84 | 18 | 4-19 | |
| 50 | 2'' | 200 | 165 | 125 | 99 | 20 | 4-19 | |
| 65 | 2 1/2'' | 240 | 185 | 145 | 118 | 20 | 4-19 | |
| 80 | 3'' | 260 | 200 | 160 | 132 | 22 | 8-19 | |
| 100 | 4'' | 300 | 220 | 180 | 156 | 24 | 8-19 | |
| 125 | 5'' | 350 | 250 | 210 | 184 | 26 | 8-19 | |
| 150 | 6'' | 400 | 285 | 240 | 211 | 26 | 8-23 | |
| 200 | 8'' | 500 | 340 | 295 | 266 | 30 | 12-23 | |
| 250 | 10'' | 600 | 405 | 355 | 319 | 32 | 12-28 | |
| 300 | 12'' | 700 | 460 | 410 | 370 | 32 | 12-28 | |
| 350 | 14'' | 800 | 520 | 470 | 429 | 36 | 16-28 | |
| 400 | 16'' | 900 | 580 | 525 | 480 | 38 | 16-31 | |
語言:簡體中文
English
Русский
簡體中文












